Подробнее о товаре Шпонки ГОСТ 10748-79
Рассчитать стоимость Шпонки ГОСТ 10748-79
Похожие товары
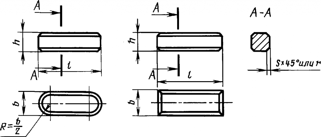
Шпонка по ГОСТ 10748-75 используются для подвижных и неподвижных соединений. Основное достоинство изделия- низкая цена и простая конструкция. Шпонка по данному стандарту может быть изготовлена из различных марок сталей.
Призматические шпонки вставляют в паз вала без дополнительного крепления. Во время использования шпонки в ступице, специально оставляют небольшой зазор.
Призматические шпонки вставляют в паз вала без дополнительного крепления. Во время использования шпонки в ступице, специально оставляют небольшой зазор.
Звоните нам по многоканальному телефону 8 (495) 138-28-81
Присылайте свои заказы по электронной почте на адрес info@m5m7.ru
Наши эксперты решат ваши вопросы и задачи в короткие сроки.
Формы исполнения:

- Исполнение 1
- Исполнение 2
