Подробнее о товаре Пресс-масленки ГОСТ 19853-74
Рассчитать стоимость Пресс-масленки ГОСТ 19853-74
Похожие товары
Виды покрытия: Ц6, Ц6.хр, Кд6, Кд6.хр
Параметр шероховатости наружных поверхностей масленок -
40 мкм
Головки масленок типов 1 и 2 должны иметь твердость не менее 500 HV 5/10.
Герметичность запорного устройства следует проверять подачей смазочного материала со стороны внутренней полости:
для масленок, предназначенных для пластичных смазочных материалов, с пенетрацией 150-220 единиц под давлением 0,05 МПа (0,5 кгс/см
). Допустимые утечки не более 5·10
см
/с;
для масленок, предназначенных для смазочных масел, с вязкостью не более 250 мм
/с при температуре испытаний, под давлением 0,3 МПа (3 кгс/см
). Допустимые утечки не более 10
см
/с.
Параметр шероховатости наружных поверхностей масленок -
Головки масленок типов 1 и 2 должны иметь твердость не менее 500 HV 5/10.
Герметичность запорного устройства следует проверять подачей смазочного материала со стороны внутренней полости:
для масленок, предназначенных для пластичных смазочных материалов, с пенетрацией 150-220 единиц под давлением 0,05 МПа (0,5 кгс/см
для масленок, предназначенных для смазочных масел, с вязкостью не более 250 мм
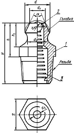
Типы масленок: для пластичных смазочных материалов-прямая (резьбовая), угловая (резьбовая); для смазочных масел - под запрессовку.
Пресс -масленка - это изделие, входящее в насосную конструкцию, также участвующая в работе подшипниковых элементов
Сфера применения: Предназначена для подачи пластичного смазочного материала. Используется в машиностроительной отрасли и автомобилестроении.
В состав пресс-масленки входит: пружина, стальной шарик, корпус.
Пресс -масленка - это изделие, входящее в насосную конструкцию, также участвующая в работе подшипниковых элементов
Сфера применения: Предназначена для подачи пластичного смазочного материала. Используется в машиностроительной отрасли и автомобилестроении.
В состав пресс-масленки входит: пружина, стальной шарик, корпус.
Звоните нам по многоканальному телефону 8 (495) 138-28-81
Присылайте свои заказы по электронной почте на адрес info@m5m7.ru
Наши эксперты решат ваши вопросы и задачи в короткие сроки.
Данный стандарт предполагает 3 типа исполнения
ТИП 1

ТИП 2

ТИП 3

ТИП 1

ТИП 2

ТИП 3
